- 型號: HCYY
- 產地: 湖北
- 產品概述: HCYY型采樣冷卻器適用于溫度較高的液體和氣體等介質取樣,具有結構緊湊、傳熱效率高、清洗方便、使用壽命長等優點,廣泛應用于石油、化工、輕工、電力等部門的小型加熱、換熱、冷卻。
- 定制咨詢: 027-81948788
※概述
HCYY型采樣冷卻器適用于溫度較高的液體和氣體等介質取樣,具有結構緊湊、傳熱效率高、清洗方便、使用壽命長等優點,廣泛應用于石油、化工、輕工、電力等部門的小型加熱、換熱、冷卻。
※規格型號
根據操作介質的性質、溫度、壓力及所需換熱面積選擇。分HCYLQ-Ⅰ型、HCYLQ-Ⅱ型、HCYLQ-Ⅲ型三種。
※產品結構
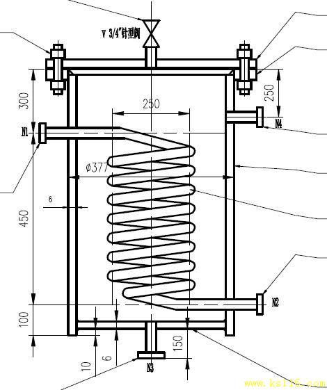
(1)、HCYLQ-ⅠA型、HCYLQ-ⅠB型采樣冷卻器

HCYLQ-ⅠA型采樣冷卻器圖
HCYLQ-ⅠB型采樣冷卻器圖
A、管口表
管口符號 | ① | ② | ③ | ④ | ⑤ |
管口說明 | 介質入口 | 介質出口 | 冷卻水入口 | 冷卻水出口 | 排放口 |
管口尺寸 | 15 | 15 | 20(ⅠA1、ⅠA2) Φ8(ⅠA3、ⅠA4) | 25 | G1/2″ |
注:HCYLQ-ⅠA3、HCYLQ-ⅠA4型的介質出口②上帶Φ8
B、適用介質及材質
型號 | ⅠA1 | ⅠA2 | ⅠA3 | ⅠA4 | ⅠB1 | ⅠB2 | ⅠB3 | ⅠB4 |
適用介質 | 油品 | 含硫油品 | 油氣 | 含硫氣、氫氣 | 油品 | 含硫油品 | 油氣 | 含硫氣、氫氣 |
盤管材料 | 20 | 304 | 20 | 304 | 20 | 304 | 20 | 304 |
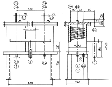
(2)、HCYLQ-Ⅱ型采樣冷卻器
A、結構圖

B、管口表
編號 | 1 1-2 | 2 1-2 | 3 | 4 | 5 | 6 1-2 | 7 1-2 |
管口說明 | 水蒸氣入口 | 水蒸氣出口 | 水蒸氣入口 | 水蒸氣出口 | 排水口 | 上排空口 | 下排空口 |
數量 | 2 | 2 | 1 | 1 | 1 | 2 | 2 |
公稱直徑DN | 10 | 10 | 40 | 40 | 50 | G1/2″ | G1/2″ |
公稱壓力PN | / | / | 2.0 | 2.0 | / | / | / |
備注 |
|
| WH/T3406-1996 |
| 帶管塞 | 帶管塞 | |